gogogo高清在线观看视频中文,国产乱妇无乱码大黄aa片,亚洲成人黄色,3P在线看,99福利,九九国产在线观看,亚洲人成一区二区,亚洲123
tpo防水卷材
您當前的位置 : 首 頁 > 媒體中心 > 行業資訊

公告!《金屬屋面抗風掀性能檢測方法 第1部分 靜態壓力法》《金屬屋面抗風掀性能檢測方法 第2部分 動態壓力法》兩項國標發布丨關注

2021-03-16

導語


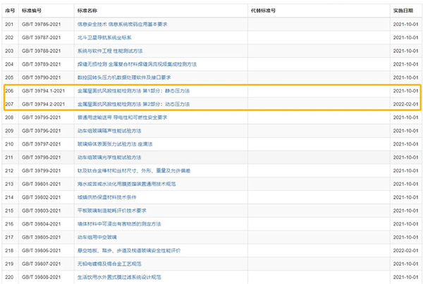
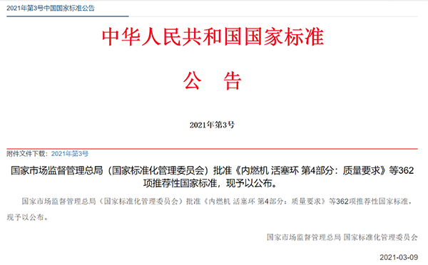
2021年3月9日,國家市場監督管理總局(國家標準化管理委員會)發布國家標準公告(2021年第3號),公告批準頒布了等362項推薦性國家標準,包括GB/T 39794.1-2021《金屬屋面抗風掀性能檢測方法 第1部分 靜態壓力法》、GB/T 39794.2-2021《金屬屋面抗風掀性能檢測方法 第2部分 動態壓力法》兩個國家標準。標準由中國建材檢驗認證集團蘇州有限公司和中國建筑科學研究院有限公司分別牽頭,中國建筑防水協會、中冶建筑研究總院有限公司等參加起草。


微信圖片_20210316144131.png


微信圖片_20210316144437.jpg


國家標準《金屬屋面抗風掀性能檢測方法 第1部分:靜態壓力法》發布于2021年3月9日,將于2021年10月1日實施。國家標準《金屬屋面抗風掀性能檢測方法 第2部分:動態壓力法》發布于2021年3月9日,將于2022年2月1日實施。




靜態壓力法主要參考了FM 4471-2010《1級平板屋面認證標準》,動態壓力法綜合了CSA A 123.21-04《動態風荷載作用下卷材屋面系統抗風揭試驗方法》和UL 580-2009《屋面組件抗風揭試驗方法》的試驗方法。金屬屋面抗風揭試驗方法國家標準的頒布,將有效保證金屬屋面的風荷載安全性,促進金屬圍護系統的推廣應用。





(本文來自中國建筑防水協會


標簽

X
選擇其他平臺 >>
分享到